ASCOT, ACCORD, ACCORD INSPIRE, VIGOR
- 1989.09
|
|

キャビン剛性の高さ、低NVH設計。
高い基本性能を実現した高品位ボディ。
上級車としてのボディを開発するにあたり、剛性、制振性、遮音についてコンピュータによる解析をさまざまな角度から行いました。
そして骨格の最適配置による高剛性化、新開発のハニカムフロアの採用などにより、基本性能の高い高剛性モノコックボディを完成させました。その特長は、
|
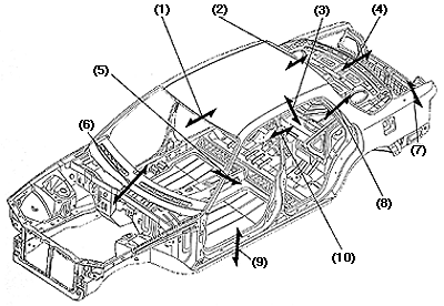
(1)
|
走りの資質を支えるキャビン剛性 |
|
(2)
|
制振性、遮音性に優れた低NVH設計 |
|
(3)
|
きめ細かな防錆処理による耐久性 |
|
(4)
|
入念な造りによる外観の高質感 |
エンジンやサスペンションの性能を確実に引き出しながら、高い剛性と静粛性、優れた耐久性、質の高い外観、を可能にしました。
| エンジン、サスペンションの性能を引き出すキャビン剛性。 |
|
|
高性能エンジン、4輪ダブルウイッシュボーン・サスペンションをしっかりと支え、FFミッドシップの走りを実現させるために、曲げ剛性・ねじり剛性に優れたアッパーボディ、アンダーボディを開発しました。
|
■
|
断面効率を向上させ、優れた骨格構造を実現したアッパーボディ。 |
アッパーボディでは、ルーフレールを連続ボックス化。ピラー形状については断面形状を最適化しました。フラッシュサーフェス・ピラード・4ドアハードトップを実現させたセンターピラーには、十分な剛性を得るため、新しい形状を与えています。またリアシートの後にはリアバルクヘッドを設けるなど、優れた骨格構造を実現させています。
アンダーボディの基本となるアンダーフレームは、縦置エンジンの採用によるスペース効率を活用して、フロントからリアまでU字型のフレーム形状で連続化。断面効率、結合効率を一段と向上させ高い剛性を獲得しています。また、この新アンダーフレームの採用により、サイドシルに独自の適性板厚配置を可能にした水平分割断面構造を採用。剛性を大幅に向上させています。
 |
|

新アンダーフレーム
|
静かで振動の少ない快適な乗り心地を実現するために、さまざまな面から、音、振動、ざらつき感を抑える施策を試みました。まずパワープラントからシャシー、エアコンにいたるまでの振動・騒音発生源そのものの低NVH化を達成した上で、新開発のハニカムフロアや制振材を用いて音や振動の伝達・拡散を抑えています。
|
■
|
軽量で高剛性を実現した乗用車で世界初のハニカムフロア、ハニカムルーフ。 |
高度な制振・遮音を実現するため、板厚を厚くしたり、補強材や制振材を増やす従来の手法では、重量が増加する上、場合によっては十分な効果が得られないこともあります。そこで、構造面から軽量で高剛性を実現するF-1や航空機と同構造の、ハニカムフロアを採用しました。フロアには、樹脂を含浸硬化させたペーパーハニカムコアを、上下2枚の鋼板ではさみこみ、フロア部に融着。従来のフロア構造に対し、約100倍以上の剛性を実現しました。また、ルーフにはペーパーハニカムコアを2層のフェルトではさみこんで成型することにより、剛性と吸音性能の大幅な向上を図りました。これらの構造を採用することで、従来必要とされていた補強材等を廃止することが可能となり、軽量で、しかも静粛な室内をもたらしました。
|
■
|
エンジンルームからの音と振動を抑える多層遮音構造。 |
アイドリング時から高速走行時まで、快適な室内を保つために、エンジンルームに隣接するダッシュボードに制振、遮音効果の高いメルシートをはさみ込んだ3層構造を採用。パワーユニットが発するさまざまな音や振動を効果的に遮断しています。
タイヤハウスをはじめとするさまざまな音の発生源に、メルシート制振材を適切に配置しました。これにより、路面からの音やメカニカルノイズを効果的に遮断しています。
|
■
|
低騒音コンシールド・モジュールアセンブリーワイパー。 |
ワイパーモーター、ピボット、リンク機構をアルミフレームに一体化して取り付け、それをボディにゴムでフローティングマウント。大拭払面積でありながら、静粛性の高いシステムです。
|
|
|